ITBEAR科技资讯
网站首页 科技资讯 财经资讯 分享好友

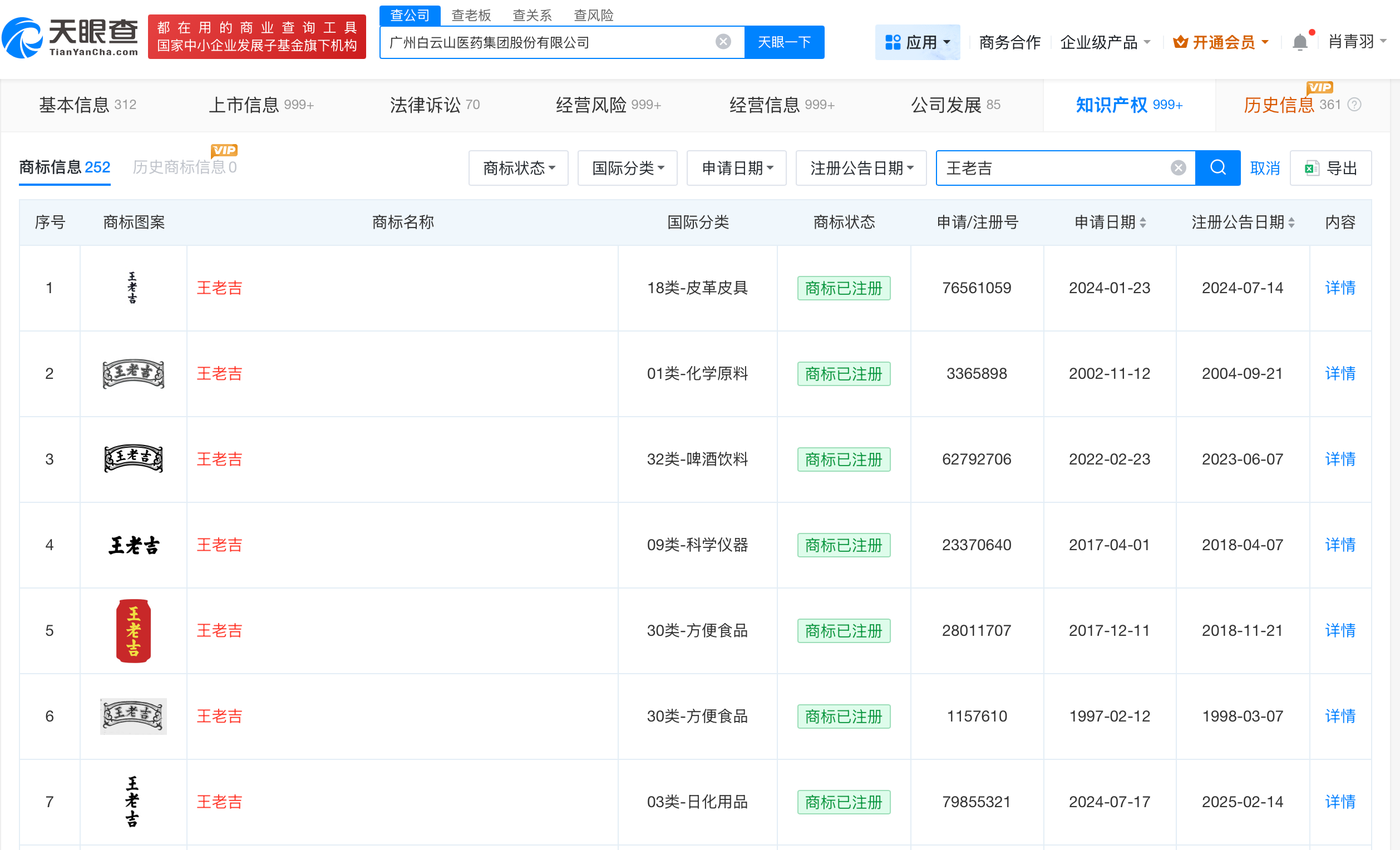
白云山已注册多枚王老吉商标

时间:2025-10-11 12:13:36来源:天眼查编辑:快讯

据报道,10月10日,加多宝集团突然发布声明,声称拥有王老吉海外商标所有权。而此前9月30日,广州王老吉大健康产业有限公司(下称“王老吉大健康公司”)则指责加多宝属于恶意抢注,双方围绕海外商标归属展开新一轮攻防战。据悉,万捷有限公司为加多宝集团海外离岸关联公司。

天眼查App显示,“王老吉”已被多方申请注册为商标,国际分类包括医药、饲料种籽、方便食品等,申请人包括万捷有限公司、新郑市某饲料厂等。当前上述商标多已被驳回。此外,广州白云山医药集团股份有限公司已申请注册多枚“王老吉”商标,当前商标状态多为已注册。

微信图片_20251011120049_778_29.png

微信图片_20251011120049_777_29.png

更多热门内容