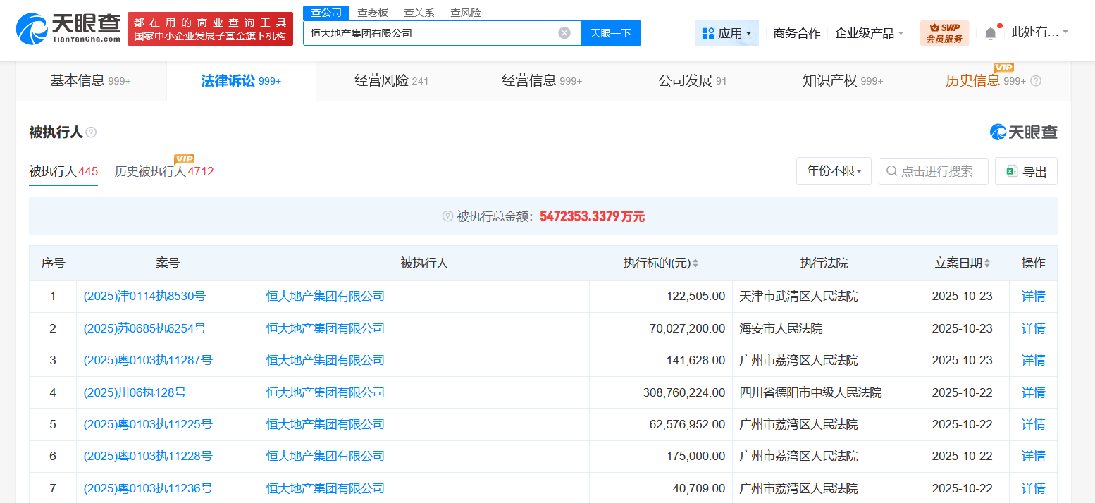
天眼查App显示,10月22日至23日,恒大地产集团有限公司新增7条被执行人信息,执行标的合计4.4亿余元,涉及买卖合同纠纷、建设工程施工合同纠纷等案件,部分案件被执行人还包括恒大集团有限公司、南通苏创置业有限公司等,执行法院为四川省德阳市中级人民法院、广州市荔湾区人民法院等。
天眼风险信息显示,恒大地产集团有限公司现存440余条被执行人信息,被执行总金额超547亿元,此外,该公司还存在多条限制消费令、失信被执行人(老赖)及终本案件信息。


天眼查App显示,10月22日至23日,恒大地产集团有限公司新增7条被执行人信息,执行标的合计4.4亿余元,涉及买卖合同纠纷、建设工程施工合同纠纷等案件,部分案件被执行人还包括恒大集团有限公司、南通苏创置业有限公司等,执行法院为四川省德阳市中级人民法院、广州市荔湾区人民法院等。
天眼风险信息显示,恒大地产集团有限公司现存440余条被执行人信息,被执行总金额超547亿元,此外,该公司还存在多条限制消费令、失信被执行人(老赖)及终本案件信息。


2025-10-24
2025-10-24
2025-10-24
2025-10-24
2025-10-24
2025-10-24
2025-10-23
2025-10-23
2025-10-23
2025-10-23